Name of Your Organization:
Beijing RedRocket Technology Co., Ltd
Web Site:
http://www.redrocket.cn/
Compatible Capability:
RedRocket SAST
Capability home page:
http://www.redrocket.cn/Home/Product_introduction/index.html?id=2
General Capability Questions
Product Accessibility <CR_2.4>
Provide a short description of how and where
your capability is made available to your customers and the public (required):
-
Open the official website http://www.redrocket.cn/, as shown in figure 1.

Figure-1 Homepage
-
Click the red circle "apply for use" in figure 2.

Figure-2 Tool application trial
-
Enter the application information and click the submit button to submit the application,as shown in figure 3.

Figure-3 Submit application information
-
After receiving the application, we will send the login address, user name, password and user manual to your email.
-
The user can log in to the SAST system with the login information received, as shown in Figure 4.

Figure-4 System login home page
-
Click "new project" to create a new project, as shown in Figure 5.

Figure-5 Create test task interface
-
After the test is completed, click the project name to enter the test result query page, and the CWE information can be viewed in the defect information area, as shown in Figure 6.

Figure-6 Test result query interface
Mapping Questions
Map Currency Indication <CR_6.1>
Describe how and where your capability indicates the most recent CWE content used to create or update its mappings (required):
Users can view CWE through the product homepage (click the help button in the upper right corner, as shown in Figure 7 and 8).

Figure 7 the help button

Figure-8 the CWE Documentation and CWE Mapping Relations on the page
We release our products at least twice a year, and we will add the latest CWE content to each new version of "CWE Mapping Relations " for users to view.
Map Currency Update Approach <CR_6.2>
Indicate how often you plan on updating the mappings to reflect the current CWE content and describe your approach to keeping reasonably current with the CWE content when mapping them to your repository (recommended):
If the defect item we add or modify has a corresponding CWE number, we will add the CWE number to the configuration information of the defect item, so that users can view the corresponding CWE information when viewing the defect.
MAP CURRENCY UPDATE TIME <CR_6.3>
Describe how and where you explain to your customers the timeframe they should expect an update of your capability’s mappings to reflect newly available CWE content (required):
We release our product twice every year. The user can get updated mapping relations in each release.
Documentation Questions
CWE AND COMPATIBILITY DOCUMENTATION <CR_5.1>
Provide a copy, or directions to its location, of where your documentation describes CWE and CWE compatibility for your customers (required):
Our CWE Documentation describes CWE and CWE compatibility at the beginning of the article as part (I) and part (II), by quoting the description of CWE and CWE compatibility on the CWE official website. Users can view CWE through the product homepage, and click the help button in the upper right corner to view CWE mapping relations file, as shown in Figure 7 and figure 8.
DOCUMENTATION OF FINDING ELEMENTS USING CWE IDENTIFIERS <CR_5.2>
Provide a copy, or directions to its location, of where your documentation describes the specific details of how your customers can use CWE identifiers to find the individual security elements within your capability’s repository (required):
Our CWE Documentation describes this at the part (IV) of the article, which is named "About CWE Searchable".
DOCUMENTATION OF FINDING CWE IDENTIFIERS USING ELEMENTS
<CR_5.3>
Provide a copy, or directions to its location, of where your documentation describes the process a user would follow to find the CWE identifiers associated with individual security elements within your capability’s repository (required):
Our CWE Documentation describes this at the part (III) of the article, which is named "About CWE Output".
DOCUMENTATION INDEXING OF CWE-RELATED MATERIAL
<CR_5.4>
If your documentation includes an index, provide a copy of the items and resources that you have listed under "CWE" in your index. Alternately, provide directions to where these "CWE" items are posted on your web site (recommended):
The reference is at the end of our CWE Documentation as below.
Reference
[1] http://cve.mitre.rip/external/cwe.mitre.org
[2] http://cve.mitre.rip/external/cwe.mitre.org/compatible
And the user can view CWE through the product homepage (click the help button in the upper right corner.)
Type-Specific Capability Questions
Tool Questions
FINDING TASKS USING CWE IDENTIFIERS <CR_A.2.1>
Give detailed examples and explanations of how a user can locate tasks in the tool by looking for their associated CWE identifier (required):
-
Users click "new project" on the project list page to create a new project and automatically analyze the security defects in the code. On the create project page, enter the project name and import the project source code, as shown in Figure 9.

Figure-9 Creating projects(1)
-
Click next to set the detection rules and compiler, as shown in Figure 10. Click the "question mark" button behind the rule set to set the defect rules. The corresponding CWE number can be viewed after each defect, as shown in Figure 11.

Figure-10 Creating projects(2)

Figure-11 Detection rule settings
-
After the detection, the problem list area of the detection results can be grouped and displayed according to the CWE type, as shown in Figure 12.

Figure-12 The problem list is grouped by CWE type
-
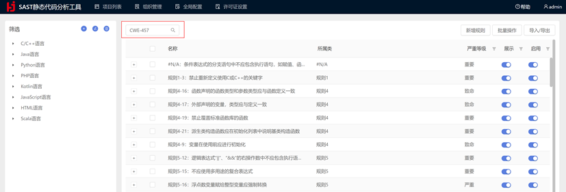
At the same time, enter the CWE number in the search box to find the defect corresponding to the specified CWE number, as shown in Figure 13 and Figure 14.

Figure-13 Query CWE number in question list

Figure-14 CWE query results are displayed in the question list
FINDING CWE IDENTIFIERS USING ELEMENTS IN REPORTS <CR_A.2.2>
Give detailed examples and explanations of how, for reports that identify individual security elements, the tool allows the user to determine the associated CWE identifier for the individual security elements in the report (required):
-
In the detection rule configuration page, enter the CWE number in the search box to find the defect corresponding to the specified CWE number, as shown in Figure 15.

Figure-15 Configuration page CWE query
-
The CWE number and the corresponding defect rule details can be displayed in the query results, as shown in Figure 16.

Figure-16 Configuration page CWE query results
-
After the detection, the user can click the project name to view the detected defects, and display the specific defects under the "problem list" tab. Click a problem to display the corresponding CWE number in the defect information area, as shown in Figure 17.

Figure-17 List of test results
-
Click the CWE number to jump into the CWE official website link, as shown in Figure 18.

Figure-18 CWE official website Vulnerability description page
GETTING A LIST OF CLAIMED CWE IDENTIFIER COVERAGE <CR_A.2.3>
Give detailed examples and explanations of how a user can obtain a listing of all of the CWE identifiers that the owner claims the tool is effective at locating in software (required):
Users can view CWE through the product homepage, and click the help button in the upper right corner to view CWE mapping relations file, as shown in Figure 7 and figure 8.
GETTING A LIST OF CWE IDENTIFIERS ASSOCIATED WITH TASKS <CR_A.2.6>
Give detailed examples and explanations of how a user can obtain a listing of all of the CWE identifiers that are associated with the tool’s tasks (recommended):
Please see the answer to question 11.
SELECTING TASKS WITH A LIST OF CWE IDENTIFIERS <CR_A.2.7>
Describe the steps and format that a user would use to select a set of tasks by providing a file with a list of CWE identifiers (recommended):
Please see the answer to question 10.
SELECTING TASKS USING INDIVIDUAL CWE IDENTIFIERS <CR_A.2.8>
Describe the steps that a user would follow to browse, select, and deselect a set of tasks for the tool by using individual CWE identifiers (recommended):
Please see the answer to question 10.
NON-SUPPORT NOTIFICATION FOR A REQUESTED CWE IDENTIFIER <CR_A.2.9>
Provide a description of how the tool notifies the user that a task associated with a selected CWE Identifier cannot be performed (recommended):
When you search a CWE ID but there is no result, the tool notifies the user that a task associated with a selected CWE identifier cannot be performed.
Media Questions
ELECTRONIC DOCUMENT FORMAT INFO <B.3.1>
Provide details about the different electronic document formats that you provide and describe how they can be searched for specific CWE-related text (required):
Our electronic document format is PDF or WORD. So users can easily search for specific CWE-related text by keyword searching. For example, we open the CWE Mapping Relations document, and search "cwe" by pressing "Ctrl + f", as shown in figure 19.

Figure-19 search specific CWE-related text in PDF document
ELECTRONIC DOCUMENT LISTING OF CWE IDENTIFIERS <CR_B.3.2>
If one of the capability’s standard electronic documents only lists security elements by their short names or titles provide example documents that demonstrate how the associated CWE identifiers are listed for each individual security element (required):
We list the mapping relationship in the form of a table, and the document format is PDF. Users can easily find the relevant CWE ID by searching component serial number or component keyword.
Graphical User Interface (GUI) Questions
FINDING ELEMENTS USING CWE IDENTIFIERS THROUGH THE GUI <CR_B.4.1>
Give detailed examples and explanations of how the GUI provides a "find" or "search" function for the user to identify your capability’s elements by looking for their associated CWE identifier(s) (required):
Please see the answer to question 10.
GUI ELEMENT TO CWE IDENTIFIER MAPPING <CR_B.4.2>
Briefly describe how the associated CWE identifiers are listed for the individual security elements or discuss how the user can use the mapping between CWE identifiers and the capability’s elements, also describe the format of the mapping (required):
Please see the answer to question 11.
And the format of our CWE Mapping Relations file is a table in PDF.
GUI EXPORT ELECTRONIC DOCUMENT FORMAT INFO <CR_B.4.3>
Provide details about the different electronic document formats that you provide for exporting or accessing CWE-related data and describe how they can be searched for specific CWE-related text (recommended):
Documents may be exported in XLS or PDF and the user can use their own search function by searching keyword. And the documents in XLS will have a column named "CWE" whose content is the associated CWE ID(s).
Questions for Signature
STATEMENT OF COMPATIBILITY <CR_2.11>
Have an authorized individual sign and date the following Compatibility Statement (required):
"As an authorized representative of my organization I agree that we will abide by all of the mandatory CWE Compatibility Requirements as well as all of the additional mandatory CWE Compatibility Requirements that are appropriate for our specific type of capability."
Name: XiaoMeng Liu
Title: Product Manager
STATEMENT OF ACCURACY <CR_3.4>
Have an authorized individual sign and date the following accuracy Statement (recommended):
"As an authorized representative of my organization and to the best of my knowledge, there are no errors in the mapping between our capability's Repository and the CWE identifiers our capability reports, and those CWE identifiers are as specific as possible within the available CWE repository."
Name: XiaoMeng Liu
Title: Product Manager
STATEMENT ON FALSE-POSITIVES AND FALSE-NEGATIVES <CR_B.2.10> and/or <CR_B.3.7>
FOR TOOLS AND SERVICES ONLY — Have an authorized individual sign and date the following statement about your tools efficiency in identification of security elements (required):
"As an authorized representative of my organization and to the best of my knowledge, normally when our capability reports a specific security element, it is generally correct and normally when an event occurs that is related to a specific security element our capability generally reports it."
Name: XiaoMeng Liu
Title: Product Manager
More information is available — Please edit the custom filter or select a different filter.
|